Lasthaken LH-I l
Lasthaken LH-I l
209,00 €
            
                Inhalt:
            
            
                1 Stück
            
        
    
                                
                                            
                            Produktnummer:
                        
                    
                                            
                        
                            9900026222
                        
                                    
                    
        Lasthaken LH-I l
                    
                        EAN-Nr.:
                    
                    
                        4052462017931
                    
                
                                        
                                            Zur Produktbeschreibung
                                    
                    209,00 €
                                            
                            Inhalt:
                        
                    
                                            
                            1 Stück
                        
                    
                                    
                        
    
                            Sofort verfügbar, Lieferzeit: 1-3 Tage
Produktinformationen "Lasthaken LH-I l"
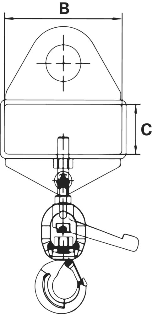
                        Lasthaken Typ LH
Dieser robuste Lasthaken eignet sich zur sicheren Aufnahme und zum Transport schwerer Lasten.
  
• Konstruktion: stabile Stahlkonstruktion
• Aufnahme: per Gabelzinken oder Kran
• Abrutschsicherung: auf unterschiedliche Zinkenstärken einstellbar
• Wirbellasthaken: 1 Stück, zum sicheren Anschlagen der Last
Hersteller: Bauer GmbH, Raiffeisenstr. 5, 83410 Laufen, DE, +49868289850, info@bauer-massstabfabrik.de
• Aufnahme mit 1 Gabelzinke und Kran
• Sicherung gegen Abrutschen
• Mit Wirbellasthaken
• Traglast 1000 kg
Abb. zeigt Lasthaken in verzinkter Ausführung. Beispielabbildung.
                
                    Dieser robuste Lasthaken eignet sich zur sicheren Aufnahme und zum Transport schwerer Lasten.
• Konstruktion: stabile Stahlkonstruktion
• Aufnahme: per Gabelzinken oder Kran
• Abrutschsicherung: auf unterschiedliche Zinkenstärken einstellbar
• Wirbellasthaken: 1 Stück, zum sicheren Anschlagen der Last
Hersteller: Bauer GmbH, Raiffeisenstr. 5, 83410 Laufen, DE, +49868289850, info@bauer-massstabfabrik.de
• Aufnahme mit 1 Gabelzinke und Kran
• Sicherung gegen Abrutschen
• Mit Wirbellasthaken
• Traglast 1000 kg
Abb. zeigt Lasthaken in verzinkter Ausführung. Beispielabbildung.
Eigenschaften
        | Oberfläche: | lackiert RAL 2000 | 
|---|---|
| Tragkraft: | 1000 kg | 
| Made in Germany: | ja | 
| Markenname: | BAUER SÜDLOHN | 
| Herstellername: | Bauer GmbH | 
| WGNr.: | 159 | 
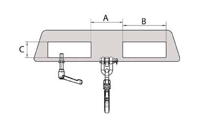
| Einfahrtaschen Innenmaße A: | – mm | 
| Einfahrtaschen Innenmaße B: | 168 mm | 
| Einfahrtaschen Innenmaße C: | 68 mm | 
| Maße LxBxH: | 300x180x395 mm | 
 
                                                                         
                                                                                                                                                                                                                             
                                                                                                                                                                                                                            